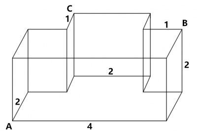
Найдите отношение квадратов длин отрезков AC и CB. Все двугранные углы многогранника прямые.

Найдите отношение квадратов длин отрезков AC и CB. Все двугранные углы многогранника прямые.

Если представить АС как диагональ
Можно.
AC^2=1^2+3^2+2^2
AC^2=14
Всего задач в тесте: 0
Вы ответили верно на: 0 (0 %)
Вы ответили неверно на: 0
Ваш первичный балл: 0
Ваш тестовый балл: 0